Описание:
Опора из нержавеющей стали диаметром 130 мм и толщиной 0.5 мм, маркой стали AISI 430 силовой несущий элемент, предназначенный для принятия веса вертикальной части дымоотводящей системы и перенесения этой нагрузки на фундамент, стену или перекрытие. Она фиксирует трубу, предотвращая ее просадку и разгерметизацию, и используется преимущественно внутри помещений или для гильзования кирпичных каналов.
Основная задача опоры удерживать вертикальные одностенные трубы от смещения вниз.
Разгружает отопительное изделие (печки, котлы, камины), принимая на себя вес всей верхней конструкции.
Опора служит основой для начала сборки дымохода, устанавливаясь на стены или перекрытия. Под опору обычно устанавливают опорные кронштейны, которые крепятся к стене.
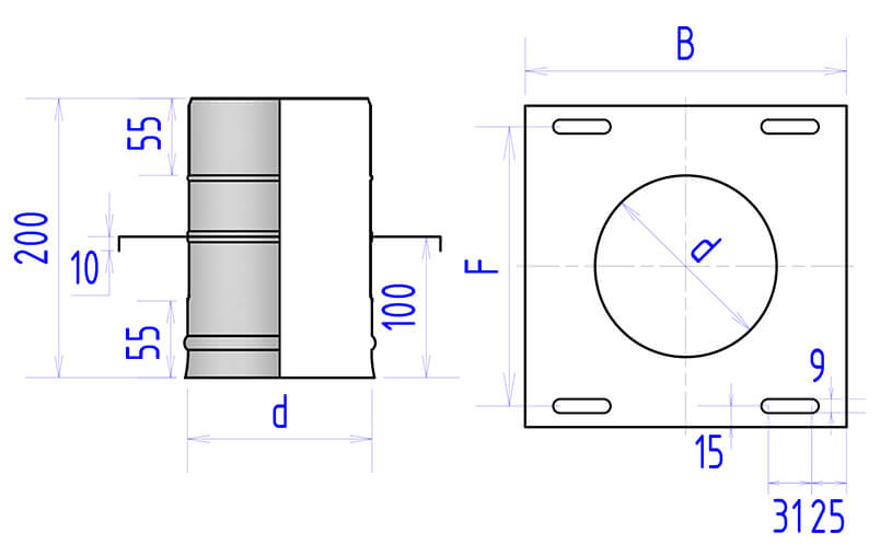
Габаритные размеры:
d - 130 мм
B - 230 мм
F - 200 мм
.jpg)










